|

|
氣動V形調節球閥是一種直角回轉式調節閥,它由GT氣動活塞式執行機構(單、雙作用)和V形球閥二部分組成。其密封形式主義有軟密封和金屬硬密封二種。由于氣動V形調節球閥為直角回轉式結構,當閥芯相對于閥座旋轉時具有較強的剪切作用,因此尤其適用于帶有纖維和微小顆粒介質的調節控制。被廣泛用于石油、化工、電力、造紙、冶金等行業。 |
一、結構原理
1.1結構:
氣動V形調節球閥由氣動活塞式執行機構和V形球閥二部分組成,氣動活塞式執行機構又分單作用和雙作用二種。V形球閥密封形式為軟密封和硬密封二種。
1.2動作原理:
a.氣動活塞式執行機構為雙作用時:
由雙作用定位器輸出的氣源信號壓力分別輸入執行機構活塞左、右二氣室,由于輸入活塞左、右二氣室的氣源壓力不同,形成壓差,推動活塞作直線運動。通過齒輪、齒條傳動,將活塞的直線運動轉換成執行機構主軸的旋轉運動,直至左、右氣室壓力平衡,運動停止。在執行機構作旋轉運動的同時帶動閥桿、閥芯作旋轉運動,以改變閥芯、閥座間的流通面積,達到調節目的。
b.氣動活塞式執行機構為單作用時:
由單作用定位器輸出的氣信號壓力輸入到執行機構無彈簧一側的氣室中,氣信號壓力作用在活塞上形成的推力和彈簧力之間差值的作用下,氣缸活塞作直線 運動,通過齒輪,齒條傳動。直至氣信號壓力形成的推力與彈簧力平衡,運動停止。在執行機構主軸作旋轉運動的同時帶動閥桿、閥芯作旋轉運動,從而改變閥芯、閥座之間的流通面積,達到調節目的。
二、特點
■ 由于V形球閥流路簡單、流阻較小,因而流通能力較大。
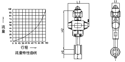
■ V形球閥芯上具有近似等百分比流量特性的V形和具有近似線性流量特性的U形二種缺口形式,因而無須通過定位器調整,即能實現不同流量特性的流量控制。
■ 可調比可達到300:1,遠大于直通單、雙座調節閥。
■ 具有較高的密封等級,軟密封結構的泄漏等級為GB/T4213VI級。硬功夫密封結構的泄漏等級為GB/T4213IV級。
■ 正、反作用方式變換較為方便,只需將閥芯初始位置旋轉90℃,既能實現作用方式的轉換。
■ 結構簡單、維護方便。體積較小、易于安裝。
三、技術參數和性能
3.1閥體:
形 式:直通鑄造閥體
公稱通徑:25~300mm
公稱壓力:PN1.6、4.0、6.4MPa
連接形式:對夾式(管道法蘭):JB79-59
法蘭式:JB79-59
材 料:ZG25I、ZG1Cr18Ni9Ti、
ZG0Cr18Ni12MoTi
溫度范圍:常溫:-20℃~+180℃ 中溫:+40℃~+350℃
填料:V型聚四氟乙烯,柔性石墨。
3.2閥內組件:
閥芯型式:V型閥芯
流量特性:等百分比特性
材 料:ICr18Ni9Ti, oCr18Ni12Mo2Ti
閥座材料:四氟乙烯,特制PPL,金屬閥座。
可 調 比:350:1
四、執行機構
氣缸型式:單缸式或雙缸式
氣缸工作壓力:0.4~0.7MPa
氣缸開關時間:雙作用式1~5秒
氣缸空氣耗量:1~131h
電磁閥電源:220VAC,24VDC
行程:0~90°
環境溫度:-20℃~90℃(特殊需要:-40~150)
性能:(帶定位器)
基本誤差:2%
回差:2%
死區:0.6%
泄漏量:軟密封:GB/T4213 VI級
硬密封:GB/T4213 IV級
五、流量系數Kv
|
公稱通徑DN
|
25
|
32
|
40
|
50
|
65
|
80
|
100
|
125
|
150
|
200
|
250
|
300
|
|
額定流量系數Kv
|
25
|
40
|
63
|
100
|
160
|
250
|
350
|
680
|
990
|
1600
|
2500
|
4000
|
|
允許壓差△P
|
小于公稱壓力
|
六、外形尺寸
|
公稱通徑DN
|
L
|
L1
|
L2
|
|
H2
|
H1
|
|
雙作用
|
單作用
|
雙作用
|
單作用
|
雙作用
|
單作用
|
雙作用
|
單作用
|
|
25
|
102
|
203
|
290
|
100
|
137
|
77
|
486
|
529
|
8.4
|
15.2
|
|
32
|
102
|
203
|
290
|
100
|
137
|
95
|
492
|
535
|
9.5
|
16.3
|
|
40
|
114
|
203
|
290
|
100
|
137
|
95
|
347
|
540
|
9.5
|
16.3
|
|
50
|
124
|
203
|
290
|
100
|
137
|
100
|
497
|
555
|
10.5
|
17.5
|
|
65
|
143
|
203
|
290
|
100
|
137
|
115
|
522
|
565
|
13.3
|
19.3
|
|
85
|
165
|
216
|
368
|
120
|
172
|
125
|
570
|
638
|
16.8
|
31.9
|
|
100
|
194
|
216
|
368
|
120
|
172
|
125
|
580
|
648
|
19.1
|
34.1
|
|
125
|
213
|
368
|
368
|
172
|
172
|
155
|
610
|
658
|
35.1
|
35.8
|
|
150
|
229
|
368
|
450
|
172
|
224
|
165
|
573
|
780
|
45.2
|
71.3
|
|
200
|
243
|
368
|
450
|
172
|
224
|
195
|
723
|
800
|
73.4
|
96.3
|
|
250
|
297
|
450
|
583
|
224
|
272
|
235
|
860
|
907
|
163
|
175
|
|
300
|
338
|
450
|
662
|
224
|
272
|
275
|
915
|
962
|
% |
|